黄山市城区禁养50个品种的烈性犬,包括罗威纳、牛头梗、獒犬等
黄山市城区禁养50个品种的烈性犬,包括罗威纳、牛头梗、獒犬等
大皖新闻讯连日来,文明养犬的话题引起社会广泛关注。10月19日,大皖新闻记者从黄山市农业农村局了解到,2020年该市出台《黄山市养犬管理条例》后,黄山市农业农村局等部门发布了城区禁养烈性犬品种通告。
据悉,2020年7月27日,黄山市农业农村局等部门发布《关于城区禁养烈性犬品种的通告》。根据《黄山市养犬管理条例》第十五条规定,个人养犬超过限养数量或者违法饲养烈性犬的,由城市管理部门责令改正;拒不改正的,处五百元以下罚款。
记者了解到,黄山市城区禁养烈性犬品种如下:1.阿富汗猎犬;2.阿根廷杜高犬;3.阿根廷犬;4.埃什特雷拉山地犬;5.比利时牧羊犬;6.比特犬;7.边境梗;8.波音达猎犬;9.大加斯科-圣通日犬;10.大蓝加斯科涅猎犬;11.大髯犬;12.德国牧羊犬;13.法国狼犬;14.捷克福斯克犬;15.凯利蓝梗;16.可蒙犬;17.马士提夫犬;18.美国斯塔福梗;19.圣伯纳犬;20.斯皮诺犬;21.苏俄牧羊犬;22.威玛犬;23.爱尔兰猎狼犬;25.比利猎犬;25.伯恩山犬;26.大白熊犬;27.大丹犬;28.多伯曼犬;29.俄罗斯高加索犬;30.法国波尔多犬;31.兰西尔犬;32.灵提犬;33.罗德西亚背脊犬;34.马雷马犬;35.纽芬兰犬;36.拳师犬;37.日本土佐犬;38.沙克犬;39.西班牙加纳利犬;40.雪达猎犬;41.寻血猎犬;42.意大利那不勒斯犬;43.罗威纳犬;44.中亚牧羊犬;45.安纳托斯亚牧羊犬;46.日本秋田犬;47.牛头梗;48.贝林登梗;49.所有种类的獒犬;50.其他具有上述犬只血统的杂交犬只;51.市农业农村局会同市住房和城乡建设局、市公安局补充公布的其他烈性犬只。
根据通告,军(警)用犬和科研实验用犬等特种犬只,盲人、肢体残疾人饲养的导盲犬和扶助犬,因其特殊需求,不受《通告》限制,但其管理人、使用人应当遵守维护公共环境卫生、不得干扰他人生活等有关规定。
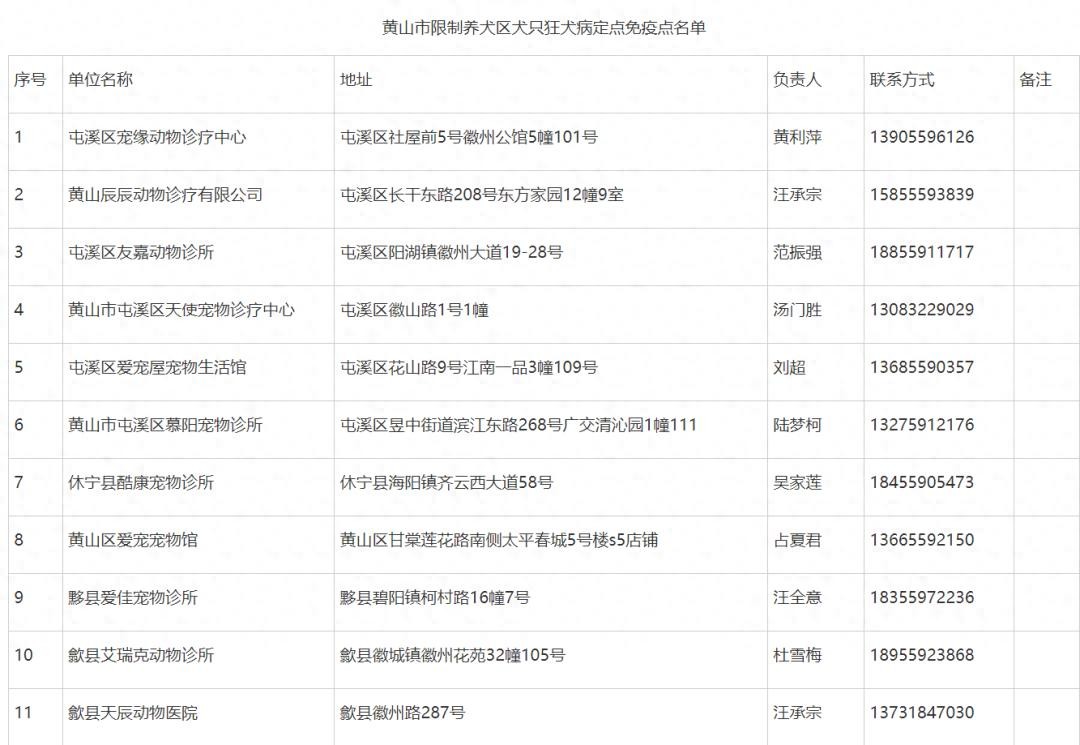
另外,2022年7月27日,黄山市农业农村局发布公告称,认定屯溪区宠缘动物诊疗中心等11家单位为黄山市限制养犬区犬只狂犬病定点免疫点。养犬人持居民身份证或居民户口簿(居住证)、3张犬只正面侧身1寸彩色照片,携带出生满3个月的健康犬只到免疫点进行狂犬病免疫注射,申领《犬类免疫证》。

大皖新闻记者 吴永泉
编辑 许正文
-
- 公公陪儿子输液竟发照片,医生搞笑举动引人捧腹!
-
2026-04-05 09:59:37
-
- 柴桑区二中红十字青少年手抄报优秀作品展
-
2026-04-05 09:57:23
-
- 直击云南的“小矮人国”,身高不到1.3米,靠表演养活自己
-
2026-04-05 09:55:09
-
- 徐志摩的情话
-
2026-04-05 09:52:55
-
- 宿松县成功举办高素质农民电商直播大赛
-
2026-04-05 09:50:40
-
- 我国宪法规定公民的基本权利有哪些?
-
2026-04-05 09:48:25
-
- 沈阳桃仙国际机场变花样宠客(qiě)
-
2026-04-05 09:46:11
-
- 三种杠杆:劳动、资本和知识
-
2026-04-05 09:43:57
-
- 晴隆县鸡场镇:40多亩果冻橙迎来甜蜜丰收
-
2026-04-05 09:41:43
-
- 七星规律图11月19日
-
2026-04-05 09:39:28
-
- 这两个连廊户型你们选哪个,反正我不会选第二个
-
2026-04-05 06:24:35
-
- 无性婚姻对女人的伤害有多大
-
2026-04-05 06:22:21
-
- 为什么南京长江大桥不能拆了重建?真的是中国人的骄傲。
-
2026-04-05 06:20:06
-
- 微纪录丨川妹子胡月:我登上了冬残奥会开幕式
-
2026-04-05 06:17:52
-
- 台湾红衣小女灵异事件
-
2026-04-05 06:15:38
-
- 苏紫紫一丝不挂接受采访直言:“你敢看我么?”
-
2026-04-05 06:13:24
-
- 平川区长征街道综合养老服务中心:墨香润晚晴 书写金色晚年
-
2026-04-05 06:11:09
-
- 南太铉涉毒风波从语论风暴到法院判决
-
2026-04-05 06:08:55
-
- 结婚红包吉利数字一览表
-
2026-04-05 06:06:41
-
- 欢喜闹元宵
-
2026-04-05 06:04:26



盘点台湾省历任领导人及其两岸政策
乔任梁被吊图片肠子(乔任梁吊死照片)